|
Вид
|
Тройник чугунный |
|
Тип
|
Раструб/фланец |
|
ГОСТ/ТУ
|
ISO 2531, ГОСТ 5525-143 |
|
DN
|
1000х400 |
|
Материал
|
ВЧШГ |
|
Присоединение
|
Раструбное/Фланцевое |
|
Инженерная система
|
Водоснабжение, канализация |
|
Среда
|
Горячая и холодная вода |
Тройники из чугуна являются неотъемлемой частью современных систем трубопроводов, обеспечивая их надежность и долговечность. Эти изделия находят применение в промышленности, строительстве, коммунальном хозяйстве и других отраслях, где требуется соединение нескольких потоков.
Особенности и преимущества:
Чугунные тройники обладают рядом преимуществ, благодаря которым они востребованы на рынке:
- Высокая прочность и износостойкость. Чугун отличается устойчивостью к механическим повреждениям и сохраняет свои свойства даже при длительной эксплуатации.
- Коррозионная стойкость. Материал выдерживает воздействие влаги и агрессивных сред, что делает его идеальным для использования в системах водоснабжения и канализации.
- Широкая совместимость. Тройники из чугуна подходят для соединения с трубами из различных материалов, включая сталь, пластик и медь.
- Долговечность. Срок службы таких изделий достигает десятков лет, что существенно снижает расходы на ремонт и замену трубопроводов.
Сферы применения:
- в системах водоснабжения для распределения потоков воды;
- в отопительных системах для соединения труб с различной температурой теплоносителя;
- в газопроводах, где важна герметичность и прочность соединений;
- в канализационных системах для отвода сточных вод.
Покрытие:
На внутреннюю поверхность фасонных частей наносится цементно-песчаное покрытие.
На наружную поверхность фасонных частей наносится защитное покрытие цинком и битумным лаком.

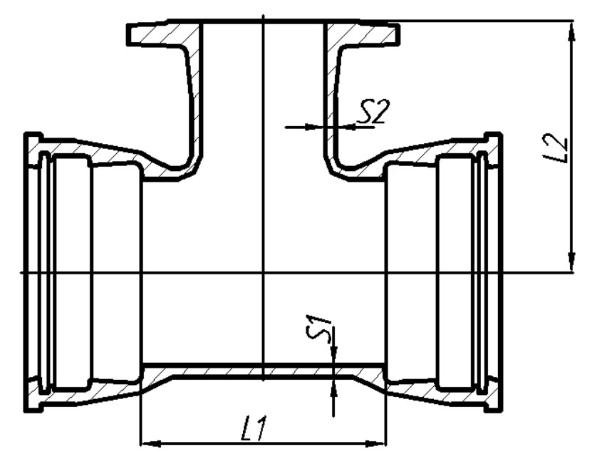
Размеры:
|
ТРОЙНИК РАСТРУБ-ФЛАНЕЦ (ГОСТ) |
|||||
|---|---|---|---|---|---|
|
Наименование |
S1 |
S2 |
L1 |
L2 |
|
|
Тройник Раструб-Фланец ВЧШГ DN80х80 |
7,0 |
7,0 |
250 |
150 |
|
|
Тройник Раструб-Фланец ВЧШГ DN 100х80 |
7,2 |
7,0 |
250 |
175 |
|
|
Тройник Раструб-Фланец ВЧШГ DN 100х100 |
7,2 |
7,2 |
300 |
200 |
|
|
Тройник Раструб-Фланец ВЧШГ DN 125х80 |
7,5 |
7,0 |
300 |
175 |
|
|
Тройник Раструб-Фланец ВЧШГ DN 125х100 |
7,5 |
7,2 |
300 |
175 |
|
|
Тройник Раструб-Фланец ВЧШГ DN 125х125 |
7,5 |
7,5 |
400 |
225 |
|
|
Тройник Раструб-Фланец ВЧШГ DN 150х80 |
7,8 |
7,0 |
300 |
200 |
|
|
Тройник Раструб-Фланец ВЧШГ DN 150х100 |
7,8 |
7,2 |
300 |
200 |
|
|
Тройник Раструб-Фланец ВЧШГ DN 150х125 |
7,8 |
7,5 |
400 |
200 |
|
|
Тройник Раструб-Фланец ВЧШГ DN 150х150 |
7,8 |
7,8 |
400 |
250 |
|
|
Тройник Раструб-Фланец ВЧШГ DN 200х80 |
8,4 |
7,0 |
300 |
225 |
|
|
Тройник Раструб-Фланец ВЧШГ DN 200х100 |
8,4 |
7,2 |
400 |
225 |
|
|
Тройник Раструб-Фланец ВЧШГ DN 200х125 |
8,4 |
7,5 |
400 |
225 |
|
|
Тройник Раструб-Фланец ВЧШГ DN 200х150 |
8,4 |
7,8 |
400 |
225 |
|
|
Тройник Раструб-Фланец ВЧШГ DN 200х200 |
8,4 |
8,4 |
500 |
300 |
|
|
Тройник Раструб-Фланец ВЧШГ DN 250х80 |
9,0 |
7,0 |
300 |
250 |
|
|
Тройник Раструб-Фланец ВЧШГ DN 250х100 |
9,0 |
7,2 |
400 |
250 |
|
|
Тройник Раструб-Фланец ВЧШГ DN 250х150 |
9,0 |
7,8 |
400 |
250 |
|
|
Тройник Раструб-Фланец ВЧШГ DN 250х200 |
9,0 |
8,4 |
500 |
275 |
|
|
Тройник Раструб-Фланец ВЧШГ DN 250х250 |
9,0 |
9,0 |
500 |
300 |
|
|
Тройник Раструб-Фланец ВЧШГ DN 300х80 |
9,6 |
7,0 |
300 |
275 |
|
|
Тройник Раструб-Фланец ВЧШГ DN 300х100 |
9,6 |
7,2 |
400 |
275 |
|
|
Тройник Раструб-Фланец ВЧШГ DN 300х150 |
9,6 |
7,8 |
400 |
275 |
|
|
Тройник Раструб-Фланец ВЧШГ DN 300х200 |
9,6 |
8,4 |
500 |
300 |
|
|
Тройник Раструб-Фланец ВЧШГ DN 300х250 |
9,6 |
9,0 |
500 |
300 |
|
|
Тройник Раструб-Фланец ВЧШГ DN 300х300 |
9,6 |
9,6 |
600 |
300 |
|
|
Тройник Раструб-Фланец ВЧШГ DN 350х100 |
10,2 |
7,2 |
400 |
300 |
|
|
Тройник Раструб-Фланец ВЧШГ DN 350х150 |
10,2 |
7,8 |
400 |
300 |
|
|
Тройник Раструб-Фланец ВЧШГ DN 350х200 |
10,2 |
8,4 |
500 |
300 |
|
|
Тройник Раструб-Фланец ВЧШГ DN 350х250 |
10,2 |
9,0 |
500 |
325 |
|
|
Тройник Раструб-Фланец ВЧШГ DN 350х350 |
10,2 |
10,2 |
600 |
350 |
|
|
Тройник Раструб-Фланец ВЧШГ DN 400х100 |
10,8 |
7,2 |
400 |
325 |
|
|
Тройник Раструб-Фланец ВЧШГ DN 400х150 |
10,8 |
7,8 |
500 |
325 |
|
|
Тройник Раструб-Фланец ВЧШГ DN 400х200 |
10,8 |
8,4 |
500 |
350 |
|
|
Тройник Раструб-Фланец ВЧШГ DN 400х250 |
10,8 |
9,0 |
500 |
350 |
|
|
Тройник Раструб-Фланец ВЧШГ DN 400х300 |
10,8 |
9,6 |
600 |
350 |
|
|
Тройник Раструб-Фланец ВЧШГ DN 400х400 |
10,8 |
10,8 |
600 |
400 |
|
|
Тройник Раструб-Фланец ВЧШГ DN 500х100 |
12,0 |
7,2 |
400 |
375 |
|
|
Тройник Раструб-Фланец ВЧШГ DN 500х200 |
12,0 |
8,4 |
500 |
400 |
|
|
Тройник Раструб-Фланец ВЧШГ DN 500х400 |
12,0 |
10,8 |
800 |
425 |
|
|
Тройник Раструб-Фланец ВЧШГ DN 500х500 |
12,0 |
12,0 |
800 |
500 |
|
|
Тройник Раструб-Фланец ВЧШГ DN 600х200 |
13,2 |
8,4 |
500 |
450 |
|
|
Тройник Раструб-Фланец ВЧШГ DN 600х400 |
13,2 |
10,8 |
800 |
475 |
|
|
Тройник Раструб-Фланец ВЧШГ DN 600х600 |
13,2 |
13,2 |
900 |
550 |
|
|
Тройник Раструб-Фланец ВЧШГ DN 700х200 |
14,4 |
8,4 |
500 |
500 |
|
|
Тройник Раструб-Фланец ВЧШГ DN 700х400 |
14,4 |
10,8 |
800 |
525 |
|
|
Тройник Раструб-Фланец ВЧШГ DN 700х700 |
14,4 |
14,4 |
1100 |
600 |
|
|
Тройник Раструб-Фланец ВЧШГ DN 800х200 |
15,6 |
8,4 |
600 |
550 |
|
|
Тройник Раструб-Фланец ВЧШГ DN 800х400 |
15,6 |
10,8 |
800 |
575 |
|
|
Тройник Раструб-Фланец ВЧШГ DN 800х600 |
15,6 |
13,2 |
1000 |
625 |
|
|
Тройник Раструб-Фланец ВЧШГ DN 800х800 |
15,6 |
15,6 |
1200 |
700 |
|
|
Тройник Раструб-Фланец ВЧШГ DN 900х200 |
16,8 |
8,4 |
600 |
600 |
|
|
Тройник Раструб-Фланец ВЧШГ DN 900х400 |
16,8 |
10,8 |
800 |
650 |
|
|
Тройник Раструб-Фланец ВЧШГ DN 900х600 |
16,8 |
13,2 |
1000 |
675 |
|
|
Тройник Раструб-Фланец ВЧШГ DN 900х900 |
16,8 |
16,8 |
1300 |
750 |
|
|
Тройник Раструб-Фланец ВЧШГ DN 1000х400 |
18,0 |
10,8 |
800 |
700 |
|
|
Тройник Раструб-Фланец ВЧШГ DN 1000х600 |
18,0 |
13,2 |
1000 |
725 |
|
|
Тройник Раструб-Фланец ВЧШГ DN 1000х1000 |
18,0 |
18,0 |
1400 |
800 |
|
|
ТРОЙНИК РАСТРУБ-ФЛАНЕЦ (ISO) |
||||
|---|---|---|---|---|
|
Наименование |
S1 |
S2 |
L1 |
L2 |
|
Тройник Раструб-Фланец ВЧШГ DN 80х80 |
7,0 |
7,0 |
175 |
165 |
|
Тройник Раструб-Фланец ВЧШГ DN 100х80 |
7,2 |
7,0 |
165 |
170 |
|
Тройник Раструб-Фланец ВЧШГ DN 100х100 |
7,2 |
7,2 |
195 |
180 |
|
Тройник Раструб-Фланец ВЧШГ DN 125х80 |
7,5 |
7,0 |
175 |
185 |
|
Тройник Раструб-Фланец ВЧШГ DN 125х100 |
7,5 |
7,2 |
195 |
195 |
|
Тройник Раструб-Фланец ВЧШГ DN 125х125 |
7,5 |
7,5 |
225 |
200 |
|
Тройник Раструб-Фланец ВЧШГ DN 150х80 |
7,8 |
7,0 |
180 |
200 |
|
Тройник Раструб-Фланец ВЧШГ DN 150х100 |
7,8 |
7,2 |
200 |
205 |
|
Тройник Раструб-Фланец ВЧШГ DN 150х125 |
7,8 |
7,5 |
230 |
215 |
|
Тройник Раструб-Фланец ВЧШГ DN 150х150 |
7,8 |
7,8 |
260 |
220 |
|
Тройник Раструб-Фланец ВЧШГ DN 200х80 |
8,4 |
7,0 |
180 |
225 |
|
Тройник Раструб-Фланец ВЧШГ DN 200х100 |
8,4 |
7,2 |
200 |
230 |
|
Тройник Раструб-Фланец ВЧШГ DN 200х125 |
8,4 |
7,5 |
235 |
240 |
|
Тройник Раструб-Фланец ВЧШГ DN 200х150 |
8,4 |
7,8 |
260 |
245 |
|
Тройник Раструб-Фланец ВЧШГ DN 200х200 |
8,4 |
8,4 |
320 |
260 |
|
Тройник Раструб-Фланец ВЧШГ DN 250х80 |
9,0 |
7,0 |
185 |
165 |
|
Тройник Раструб-Фланец ВЧШГ DN 250х100 |
9,0 |
7,2 |
205 |
270 |
|
Тройник Раструб-Фланец ВЧШГ DN 250х150 |
9,0 |
7,8 |
265 |
280 |
|
Тройник Раструб-Фланец ВЧШГ DN 250х200 |
9,0 |
8,4 |
320 |
290 |
|
Тройник Раструб-Фланец ВЧШГ DN 250х250 |
9,0 |
9,0 |
380 |
300 |
|
Тройник Раструб-Фланец ВЧШГ DN 300х80 |
9,6 |
7,0 |
185 |
295 |
|
Тройник Раструб-Фланец ВЧШГ DN 300х100 |
9,6 |
7,2 |
210 |
300 |
|
Тройник Раструб-Фланец ВЧШГ DN 300х150 |
9,6 |
7,8 |
265 |
310 |
|
Тройник Раструб-Фланец ВЧШГ DN 300х200 |
9,6 |
8,4 |
325 |
320 |
|
Тройник Раструб-Фланец ВЧШГ DN 300х250 |
9,6 |
9,0 |
380 |
330 |
|
Тройник Раструб-Фланец ВЧШГ DN 300х300 |
9,6 |
9,6 |
440 |
340 |
|
Тройник Раструб-Фланец ВЧШГ DN 350х100 |
10,2 |
7,2 |
210 |
330 |
|
Тройник Раструб-Фланец ВЧШГ DN 350х150 |
10,2 |
7,8 |
270 |
340 |
|
Тройник Раструб-Фланец ВЧШГ DN 350х200 |
10,2 |
8,4 |
325 |
350 |
|
Тройник Раструб-Фланец ВЧШГ DN 350х250 |
10,2 |
9,0 |
385 |
360 |
|
Тройник Раструб-Фланец ВЧШГ DN 350х350 |
10,2 |
10,2 |
500 |
380 |
|
Тройник Раструб-Фланец ВЧШГ DN 400х100 |
10,8 |
7,2 |
210 |
360 |
|
Тройник Раструб-Фланец ВЧШГ DN 400х150 |
10,8 |
7,8 |
270 |
370 |
|
Тройник Раструб-Фланец ВЧШГ DN 400х200 |
10,8 |
8,4 |
325 |
380 |
|
Тройник Раструб-Фланец ВЧШГ DN 400х250 |
10,8 |
9,0 |
385 |
390 |
|
Тройник Раструб-Фланец ВЧШГ DN 400х300 |
10,8 |
9,6 |
445 |
400 |
|
Тройник Раструб-Фланец ВЧШГ DN 400х400 |
10,8 |
10,8 |
560 |
420 |
|
Тройник Раструб-Фланец ВЧШГ DN 500х100 |
12,0 |
7,2 |
215 |
420 |
|
Тройник Раструб-Фланец ВЧШГ DN 500х200 |
12,0 |
8,4 |
330 |
440 |
|
Тройник Раструб-Фланец ВЧШГ DN 500х400 |
12,0 |
10,8 |
565 |
480 |
|
Тройник Раструб-Фланец ВЧШГ DN 500х500 |
12,0 |
12,0 |
680 |
500 |
|
Тройник Раструб-Фланец ВЧШГ DN 600х200 |
13,2 |
8,4 |
340 |
500 |
|
Тройник Раструб-Фланец ВЧШГ DN 600х400 |
13,2 |
10,8 |
570 |
540 |
|
Тройник Раструб-Фланец ВЧШГ DN 600х600 |
13,2 |
13,2 |
800 |
580 |
|
Тройник Раструб-Фланец ВЧШГ DN 700х200 |
14,4 |
8,4 |
345 |
525 |
|
Тройник Раструб-Фланец ВЧШГ DN 700х400 |
14,4 |
10,8 |
575 |
555 |
|
Тройник Раструб-Фланец ВЧШГ DN 700х700 |
14,4 |
14,4 |
925 |
600 |
|
Тройник Раструб-Фланец ВЧШГ DN 800х200 |
15,6 |
8,4 |
350 |
585 |
|
Тройник Раструб-Фланец ВЧШГ DN 800х400 |
15,6 |
10,8 |
580 |
615 |
|
Тройник Раструб-Фланец ВЧШГ DN 800х600 |
15,6 |
13,2 |
1045 |
645 |
|
Тройник Раструб-Фланец ВЧШГ DN 800х800 |
15,6 |
15,6 |
1045 |
675 |
|
Тройник Раструб-Фланец ВЧШГ DN 900х200 |
16,8 |
8,4 |
355 |
645 |
|
Тройник Раструб-Фланец ВЧШГ DN 900х400 |
16,8 |
10,8 |
590 |
675 |
|
Тройник Раструб-Фланец ВЧШГ DN 900х600 |
16,8 |
13,2 |
1170 |
705 |
|
Тройник Раструб-Фланец ВЧШГ DN 900х900 |
16,8 |
16,8 |
1170 |
750 |
|
Тройник Раструб-Фланец ВЧШГ DN1000х200 |
18,0 |
8,4 |
360 |
705 |
|
Тройник Раструб-Фланец ВЧШГ DN 1000х400 |
18,0 |
10,8 |
595 |
735 |
|
Тройник Раструб-Фланец ВЧШГ DN 1000х600 |
18,0 |
13,2 |
1290 |
765 |
|
Тройник Раструб-Фланец ВЧШГ DN 1000х1000 |
18,0 |
18,0 |
1290 |
825 |
ГОСТ/ТУ:
Номенклатура и присоединительные размеры соответствуют требованиям ISO 2531, ГОСТ 5525-88.
Маркировка
Соединительные части имеют на наружной поверхности литую или нанесенную краской маркировку, включающую следующие обозначения:
- товарный знак предприятия-изготовителя;
- условный проход;
- год изготовления;
- обозначение, что материалом трубы является чугун с шаровидной формой графита (GGG).
Чтобы купить тройник чугунный раструб-фланец ВЧШГ необходимого диаметра от DN80 до DN1000 оставьте заявку на сайте. Менеджер свяжется с Вами для уточнения деталей заказа и рассчитает стоимость доставки.

